近日,有Reddit网友发现了一项R星关于《GTA6》人物动画的专利,该专利是在一个人的LinkedIn页面发现的。而这个人的名字最早出现在了《GTA6》的泄露视频中。(这位用户就是通过这个名字找到的专利)
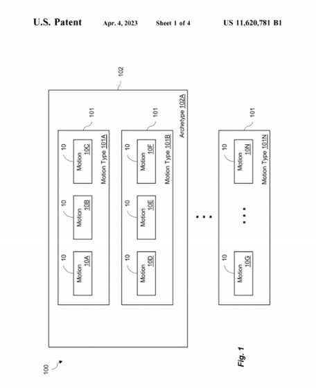
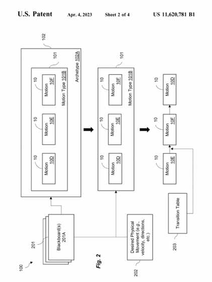
该专利共有11页内容,根据网友分析,R星在游戏中建立了一个智能的动画系统。通过建立一个关于角色动作的小型构建库,来自由组合各种动画。
例如,游戏中的角色在雨中行走,感到疲倦或受伤时的动作。这些动作不是为了这种状态单独设计的,而是通过这个动画库自然地将多个动作组合在一起。
这意味着《GTA6》可以拥有更加多样化和逼真的动画。所以,在《GTA6》中很可能会看到角色的移动方式、动作会受到天气状况和受伤程度的影响。
此外,该用户还从泄露视频中找到了使用该机制的动画,展示了角色在受到攻击时的移动方式。同时,这个功能也被运用到了NPC中,之前泄露的视频中,警察会根据墙/栅栏的高度来改变其动作。不过之前泄露的只是非常早期的版本,最终版应该会更加出色。
专利文件部分内容:
本文由游民星空制作发布,未经允许禁止转载。
更多相关资讯请关注:GTA6专区
《魔兽世界》大逃杀!60人新游玩模式《强袭风暴》3月21日上线
暴雪近日发布了《魔兽世界》10.2.6 更新内容,新游玩模式《强袭风暴》即将于3月21 日在亚服上线,届时玩家将前往阿拉希高地展开一场 60 人大逃杀对战。
艾泽拉斯的冒险者已经征服了艾泽拉斯的大地及遥远的彼岸。他们在对抗世界上最致命的敌人时展现出过人的手腕,并且成功阻止终结宇宙等级的威胁。当他们在为即将于《魔兽世界》资料片《地心之战》中来袭的萨拉塔斯势力做战斗准备时,他们还需要在熟悉的阿拉希高地面对一个全新的敌人──那就是彼此。在《巨龙崛起》10.2.6 更新的《强袭风暴》中,玩家将会进入一个全新的海盗主题大逃杀式限时活动,其中包含极高的风险和史诗级的奖励。
《强袭风暴》不是普通的战场,作为一个独立于主游戏之外的活动,玩家可以用大逃杀的风格来体验《魔兽世界》,不分职业、不分装备(除了你在赛局中捡到的),光是技巧和战略的强弱之分就能决定出谁才是能坚持到最后的赢家。本次活动将会开放单人和双人模式,玩家在加入海盗主题的预赛大厅区域前,可以从强袭风暴角色画面新增好友。游玩游戏将可以累计名望轨迹,《巨龙崛起》和《魔兽世界:巫妖王之怒 经典版》的玩家都可以获得奖励。
更新动态
- 小骆驼-《草原狼2(蓝光CD)》[原抓WAV+CUE]
- 群星《欢迎来到我身边 电影原声专辑》[320K/MP3][105.02MB]
- 群星《欢迎来到我身边 电影原声专辑》[FLAC/分轨][480.9MB]
- 雷婷《梦里蓝天HQⅡ》 2023头版限量编号低速原抓[WAV+CUE][463M]
- 群星《2024好听新歌42》AI调整音效【WAV分轨】
- 王思雨-《思念陪着鸿雁飞》WAV
- 王思雨《喜马拉雅HQ》头版限量编号[WAV+CUE]
- 李健《无时无刻》[WAV+CUE][590M]
- 陈奕迅《酝酿》[WAV分轨][502M]
- 卓依婷《化蝶》2CD[WAV+CUE][1.1G]
- 群星《吉他王(黑胶CD)》[WAV+CUE]
- 齐秦《穿乐(穿越)》[WAV+CUE]
- 发烧珍品《数位CD音响测试-动向效果(九)》【WAV+CUE】
- 邝美云《邝美云精装歌集》[DSF][1.6G]
- 吕方《爱一回伤一回》[WAV+CUE][454M]





